產品導航
Product navigation
當前位置:首頁 > 技術資料 > 斗式提升機四連桿自動張緊裝置技術要素及特征
斗式提升機四連桿自動張緊裝置技術要素及特征
發布人:新鄉天太斗式提升機廠家 發布時間:2020-05-15
背景技術:
斗式提升機廣泛應用于化工、冶金、建材等工業過程中粉狀物料的輸送。其輸送方式分為鏈傳動和帶傳動,對應的牽引件主要為鏈條或者鋼絲膠帶,在設備的構成中,兩種輸送方式均必須配套相應的張緊裝置,以便在提升機運行的過程中牽引件保持一定的張緊狀態,減少牽引件對輪體的的磨損和提高設備的使用效率。現有的斗式提升機張緊裝置多為固定張緊和齒輪齒條張緊。固定張緊式通過在側面增加配重體,利用杠桿原理,將配重體的重量作用在提升機尾輪上。齒輪齒條張緊配重體通過齒輪齒條的豎直嚙合保證配重體作用在提升機尾輪上。但是,現有的張緊方式不能保證尾輪兩端同步自由張緊,影響了頭輪與尾輪的平行度,運行中易卡頓,限制了生產效率的提升。
技術實現要素:
本技術是為避免上述現有技術所存在的不足之處,提供一種斗式提升機四連桿自動張緊裝置,使尾輪兩端得到同步控制,保證頭輪與尾輪的平行度,從而保證運行順暢,提高生產效率。
本技術為解決技術問題采用如下技術方案:
本技術斗式提升機四連桿自動張緊裝置的結構特點是:與尾輪處在同一豎直平面中平行布置配重體,位于配重體的兩側的一對豎向連桿在配重體和尾輪的兩端對稱連接,構成豎直平面中的豎向四連桿機構;尾輪的上下運動使所述豎向四連桿機構同步移動;與所述配重體處在同一水平面中平行布置有搖臂軸,位于搖臂軸的兩側的一對搖臂在搖臂軸與配重體的兩端對稱連接,構成水平面中的水平四連桿機構;所述搖臂軸支撐在機尾上,并可轉動,所述搖臂與搖臂軸之間固定連接,所述配重體的軸端以滑塊的形式支撐在搖臂上的滑槽中,并能夠在所述滑槽中移動和轉動,所述滑槽沿搖臂的長度方向設置。
本技術斗式提升機四連桿自動張緊裝置的結構特點也在于:設置所述滑槽的長度,使所述尾輪的上下運動距離在所述滑槽中得到限位。
本技術斗式提升機四連桿自動張緊裝置的結構特點也在于:所述配重體為柱狀體,兩端設置為固定軸,在所述固定軸上設置徑向通孔,所述連桿的頂端利用螺栓固定設置在所述徑向通孔中,連桿與配重體之間的固定位置通過螺栓可以調整,連桿與尾輪的輪軸之間利用軸承座進行連接。
與已有技術相比,本技術有益效果體現在:
1、本技術為平衡自動張緊結構,利用平行四連桿機構強制尾輪兩端同步升降,保證了頭輪與尾輪的平行度,進而使尾輪始終緊貼膠帶自由平行滑動,在實現自動張緊的同時,能有效控制膠帶跑偏,運行順暢,大大提高了生產效率。
2、本技術利用搖臂中的滑槽使尾輪的上下移動行程得到限位,提高了設備運行的安全性。
附圖說明

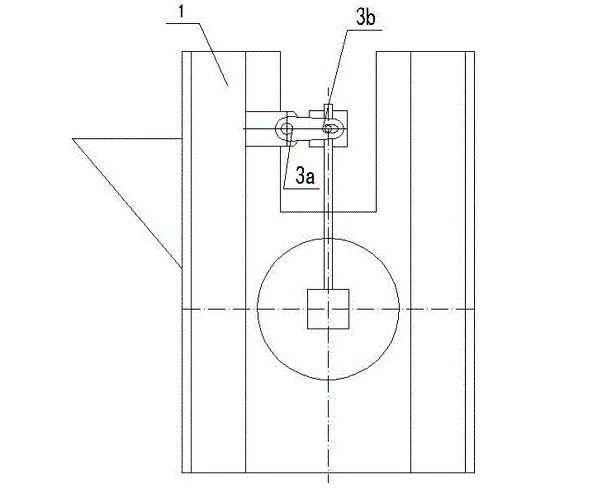
圖中標號:1機尾,2搖臂軸,3搖臂、3a圓形通孔、3b滑槽,4配重體、4a配重體端孔、4b固定軸,5連桿,6尾輪、6a尾輪軸承座。
具體實施方式
本實施例中斗式提升機四連桿自動張緊裝置的結構形式是:
如圖1和圖2所示,與斗式提升機的尾輪6處在同一豎直平面中平行布置配重體4,位于配重體4的兩側的一對豎向連桿5在配重體4和尾輪6的兩端對稱連接,構成豎直平面中的豎向四連桿機構,隨著提升機牽引件帶著尾輪6的上下運動,包括配重體4在內的豎向四連桿機構與尾輪6同步移動。
如圖1、圖2和圖3所示,與配重體4處在同一水平面中平行布置有搖臂軸2,位于搖臂軸2的兩側的一對搖臂3在搖臂軸2與配重體4的兩端對稱連接,構成水平面中的水平四連桿機構;搖臂軸2支撐在斗式提升機的機尾1上,并可轉動,搖臂3與搖臂軸2之間固定連接,形成整體鋼性結構,配重體4的軸端以滑塊的形式支撐在搖臂3上的滑槽3b中,使配重體4的軸端能夠沿滑槽3b移動和轉動,滑槽3b沿搖臂3的長度方向設置。
具體實施中,相應的結構設置也包括:
如圖4所示,在搖臂3上,一端設置為圓形通孔3a,另一端設置為滑槽3b;利用圓形通孔3a將搖臂3固定設置在搖臂軸2的兩端,根據要求設置滑槽3b的長度,使尾輪6的上下運動距離在滑槽3b中得到限位,滑槽3b為直槽,直槽的兩端呈弧形。
如圖5所示,配重體4為柱狀體,兩端設置為固定軸4b,固定軸4b以滑塊的形式嵌裝在搖臂3上的滑槽3b中,固定軸4b能在滑槽3b中滑動和轉動,在固定軸4b上設置有徑向通孔4a,為了增加強度,將徑向通孔4a所在位置的固定軸設置為外徑更大的臺階軸,連桿5的頂端利用螺栓固定設置在徑向通孔4a中,連桿5與配重體4之間的固定位置通過螺栓可以進行調整,連桿5與尾輪6的輪軸之間利用軸承座6a進行連接。
當尾輪6受力上下移動時,配重體4隨之上下移動,使搖臂3產生擺動,固定軸4b在滑槽3b中滑動和轉動,由于一對搖臂3與搖臂軸2為固定連接,其形成一鋼性整體,因此,利用一對搖臂3對配重體4在兩端實施強制同步,以此強制尾輪6在兩端同步升降,實現了自動張緊和尾輪兩端的同步升降,從而保證頭輪與尾輪的平行度,使提升機運行順暢,有效提高生產效率。
技術特征:
1.一種斗式提升機四連桿自動張緊裝置,其特征是:與尾輪(6)處在同一豎直平面中平行布置配重體(4),位于配重體(4)的兩側的一對豎向連桿(5)在配重體(4)和尾輪(6)的兩端對稱連接,構成豎直平面中的豎向四連桿機構;尾輪(6)的上下運動使所述豎向四連桿機構同步移動;與所述配重體(4)處在同一水平面中平行布置有搖臂軸(2),位于搖臂軸(2)的兩側的一對搖臂(3)在搖臂軸(2)與配重體(4)的兩端對稱連接,構成水平面中的水平四連桿機構;所述搖臂軸(2)支撐在機尾(1)上,并可轉動,所述搖臂(3)與搖臂軸(2)之間固定連接,所述配重體(4)的軸端以滑塊的形式支撐在搖臂(3)上的滑槽(3b)中,并能夠在所述滑槽(3b)中移動和轉動,所述滑槽(3b)沿搖臂(3)的長度方向設置。
2.根據實用要求1所述的斗式提升機四連桿自動張緊裝置,其特征是:設置所述滑槽(3b)的長度,使所述尾輪(6)的上下運動距離在所述滑槽(3b)中得到限位。
3.根據實用要求1所述的斗式提升機四連桿自動張緊裝置,其特征是:所述配重體(4)為柱狀體,兩端設置為固定軸,在所述固定軸上設置徑向通孔(4a),所述連桿(5)的頂端利用螺栓固定設置在所述徑向通孔(4a)中,連桿(5)與配重體(4)之間的固定位置通過螺栓可以調整,連桿(5)與尾輪(6)的輪軸之間利用軸承座(6a)進行連接。
技術總結
本技術公開了一種斗式提升機四連桿自動張緊裝置,其特征是:與尾輪處在同一豎直平面中平行布置配重體,一對豎向連桿在配重體和尾輪的兩端對稱連接,構成豎直平面中的豎向四連桿機構;與配重體處在同一水平面中平行布置有搖臂軸,一對搖臂在搖臂軸與配重體的兩端對稱連接,構成水平面中的水平四連桿機構;本技術利用四連桿機構針對配重體在兩端實施強制同步,以此強制尾輪在兩端同步升降,保證頭輪與尾輪的平行度,使提升機運行順暢,有效提高生產效率。
版權說明:如非注明,本站文章均為新鄉天太斗式提升機廠家原創,轉載請注明出處和附帶斗式提升機四連桿自動張緊裝置技術要素及特征本文鏈接。

